| Standard: CB T3139-2000 |
| Type: nine rollers |
| Suitable fiber rope dia: 40mm~80mm |
| Availible cert.: CCS, ABS, BV, DNV, LR and other certificates. |
CB T3139-2000 St.Lawrence Fairlead

Introduction:
St. Lawrence fairleads can be used to guide wire ropes and cables. We will produce them in strict accordance with the CB/T 3139-2000 standard. We can also provide fairleads with other standards, and our products have been certified by many classification societies.
We can also provide many types of marine equipments. If you want more informations about our products, please contact us by sending an email or make us a phone call.
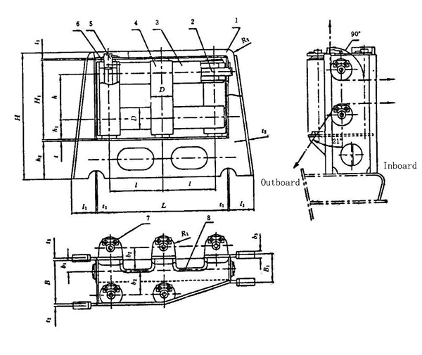
Drawings and Parameters of CB T3139-2000 St.Lawrence Fairlead:

Form 1-1:
Nominal dia. of roller | Wire dia. | D | L | l | l1 | H | H1 | h | h1 | h2 | |
Steel wire (6x37-155) | Synthetic Fiber rope | ||||||||||
140 | 18.5 | 40 | 140 | 826 | 335 | 140 | 810 | 508 | 290 | 125 | 240 |
160 | 22.5 | 50 | 168 | 920 | 368 | 155 | 937 | 578 | 318 | 150 | 290 |
190 | 28.0 | 65 | 194 | 1002 | 394 | 185 | 1040 | 624 | 344 | 160 | 340 |
200 | 33.5 | 80 | 219 | 1077 | 419 | 200 | 1119 | 669 | 369 | 170 | 360 |
Form 1-2:
Nominal dia. Of roller | B | B1 | b1 | b2 | b3 | R1 | R2 | t | t1 | t2 | Weight (kg) |
140 | 275 | 145 | 75 | 150 | 45 | 90 | 40 | 12 | 10 | 16 | 480 |
160 | 340 | 200 | 100 | 178 | 65 | 110 | 45 | 14 | 10 | 18 | 750 |
190 | 395 | 230 | 120 | 205 | 80 | 120 | 50 | 16 | 10 | 20 | 1000 |
200 | 445 | 255 | 130 | 228 | 90 | 130 | 60 | 18 | 12 | 22 | 1400 |
BACK TO TOP