| Quantity: 0 pieces |
| Material: Q235 |
| Type: Double bitt |
| Nominal Dia. Range: 160mm~500mm |
| Availible cert.: CCS, ABS, BV, DNV, LR and other certificates. |
GBT554-2008 Marine Bollard Type B

Introduction:
There are five types of GBT554-2008 marine bollard, type A ordinary bollard, type B embedded bollard, type C simple bollard, type DL double cross screw fixed bollard and type DH double-cross welding Fixed bollard. Different types have different nominal diameters. All these bollard are produced in accordance with the GBT554-2008 standard and have been certified by the China Classification Society.
Our company also provides other standard marine bollards, and can also provide customized products according to your needs.
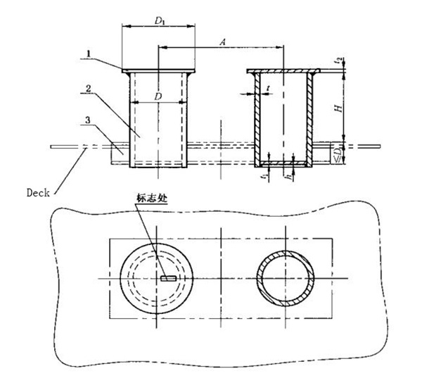
Drawings and Parameters of GBT554-2008 Marine Bollard Type B:

Nominal Dia. (mm) | Max. Breaking Load (KN) | A | D | D1 | h | ≧t | ≧t1 | t2 | H | |
Deck Without Plywood | Deck With Plywood | |||||||||
160 | 49 | 400 | 168 | 210 | 8 | 10 | 6 | 9 | 250 | 310 |
200 | 78 | 500 | 219 | 270 | 8 | 10 | 8 | 9 | 300 | 360 |
250 | 118 | 630 | 273 | 335 | 8 | 11 | 10 | 9 | 380 | 440 |
315 | 196 | 800 | 325 | 390 | 10 | 15 | 12 | 9 | 480 | 540 |
355 | 255 | 890 | 351 | 420 | 10 | 17 | 13 | 12 | 530 | 590 |
400 | 314 | 1000 | 402 | 480 | 10 | 18 | 14 | 12 | 600 | 660 |
450 | 382 | 1130 | 450 | 545 | 10 | 19 | 16 | 12 | 680 | 740 |
500 | 451 | 1250 | 500 | 600 | 12 | 20 | 18 | 12 | 750 | 810 |
GBT554-2008 Marine Bollard Type B in Factory:

BACK TO TOP