| Standard: CB T3468-92 |
| Suitable rope: wire rope |
| Suitable rope diameter: 56mm |
| Availible cert.: CCS, ABS, BV, DNV, LR and other certificates. |
CB T3468-92 Marine Mooring Wire Rope Reel Type C

Introduction:
The marine mooring wire rope reel in the CB/T 3468-1992 standard is a device for storing wire ropes. The marine mooring wire rope reel in the standard has four types: Type A, Type AW, Type B, and Type C. Among the four types, the AW type is the only one without a hand crank.
The surface of the marine mooring fiber rope reel should be smooth and free of defects such as pits, burrs, sharp corners and cracks.
We can also provide many types of marine equipments. If you want more informations about our products, please contact us by sending an email or make us a phone call.
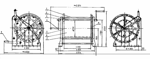
Drawings and Parameters of CB T3468-92 Marine Mooring Wire Rope Reel Type C:

Model Type | Max. Diameter of Steel Wire (mm) | Gear Modulus | Large Gear Tooth Number (pcs) | Small Gear Tooth Number (pcs) | Foot Bolts | Weight(kg) | |
Thread Dia. | Quantity (pcs) | ||||||
C56 | 56 | 10 | 134 | 18 | M24 | 14 | 643.75 |
Main Parts Specifications:
Part Name | Material | ||
Type | Mark | Standard No. | |
Left/Right Holder | Carbon Steel | Q 235-A/A·F | GB 700 88 |
Reel | |||
Brake Rod/Band | |||
Reel Shaft | Fine Carbon Steel | 25 | GB 699 88 |
Pioion Shaft | |||
Pinion | Fine Carbon Steel | 35 | GB 699 88 |
Bearing Sleeve | Aluminium Bronze | QAI 9-21 | GB 5233 85 |
Main Gear | Cast Steel | ZG 230-450/HT200 | GB 5676 85 |
BACK TO TOP