| Standard: CB/T 3468-92/CB/T498-95/CB 875-78 |
| Suitable rope: wire rope/fiber rope/electric cable |
| Suitable rope/cable diameter: 13mm~56mm |
| Availible cert.: CCS, ABS, BV, DNV, LR and other certificates. |
Marine Mooring Rope Reel

Introduction:
Marine mooring rope reel is used to store mooring ropes (mainly wire rope or fiber rope). Prohibited to be used for towing or stranded ropes. We can supply the following standards of marine mooring rope reel: CB/T 3468-92 marine mooring steel wire reel, CB/T498-95 fiber wire reel, and CB 875-78 mooring shore cable reel etc..
The surface of the marine mooring rope reel should be smooth and free of defects such as pits, burrs, sharp corners and cracks.
We can also provide many types of marine equipments. If you want more informations about our products, please contact us by sending an email or make us a phone call.
Classification and parameters of CBT 3468-92 Mooring Steel Wire Reel:
Model | Type | Max. Wire Rope Dia. (mm) | Max. Wire Rope Length (m) | |
AW, A | AW13 | A13 | 13.0 | 120 |
AW17 | A17 | 17.0 | 190 | |
AW21 | A21 | 20.5 | 180 | |
AW26 | A26 | 26.0 | 190 | |
AW32 | A32 | 32.0 | 190 | |
B | B39 | 39.0 | 210 | |
B48 | 47.5 | 230 | ||
C | C56 | 56.0 | 300 | |
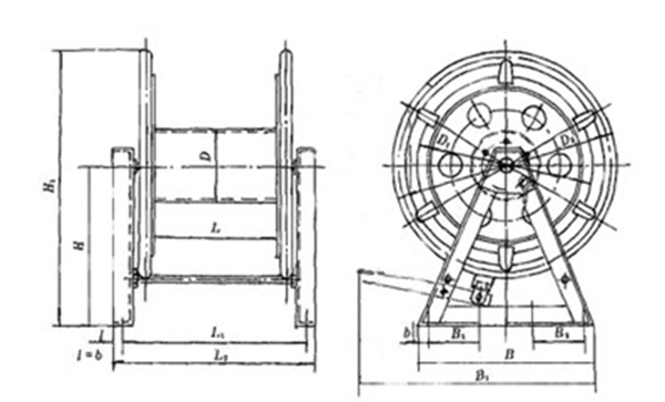
Drawings and Parameters of CBT 3468-92 Mooring Steel Wire Reel Type A:

Model Type | Max. Dia. of Wire Rope | D | D1 | D2 | L | L1 | L2 | L3 | B | B1 | H | H1 | H2 | Foot Bolts | Weight (kg) | |||
Thread Diameter | Qty. | B | b | |||||||||||||||
A13 | 13.0 | 170 | 330 | 530 | 350 | 528 | 584 | 1161 | 560 | - | 420 | 685 | 670 | M16 | 6 | 240 | 10 | 69 |
A17 | 17 | 230 | 170 | 670 | 450 | 628 | 684 | 1281 | 620 | 925 | 495 | 830 | 745 | M16 | 8 | 180 | 10 | 86 |
A21 | 20.5 | 280 | 560 | 760 | 500 | 700 | 770 | 1340 | 650 | 945 | 535 | 915 | 875 | M16 | 8 | 190 | 40 | 118 |
A26 | 26 | 340 | 660 | 860 | 550 | 750 | 820 | 1425 | 695 | 972 | 610 | 1040 | 950 | M16 | 8 | 205 | 40 | 131 |
A32 | 32 | 425 | 800 | 1000 | 650 | 850 | 920 | 1510 | 740 | 1024 | 665 | 1165 | 1510 | M16 | 8 | 220 | 40 | 172 |
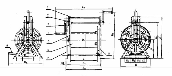
Drawings and Parameters of CBT 3468-92 Mooring Steel Wire Reel Type AW:

Model | Max. Wire Rope Dia. (mm) | Max. Wire Rope Length (m) | Unit:mm | Foot Bolt | Weight (kg) | ||||||||||||
D | D1 | D2 | L | L1 | L2 | B | B1 | H | H1 | Thread Dia. | Qty. | B2 | b | ||||
AW13 | 13.0 | 120 | 170 | 330 | 530 | 350 | 528 | 584 | 560 | - | 420 | 685 | M16 | 6 | 240 | 40 | 58 |
AW17 | 17.0 | 190 | 230 | 470 | 670 | 450 | 628 | 684 | 620 | 925 | 495 | 830 | M16 | 8 | 180 | 40 | 76 |
AW21 | 20.5 | 180 | 280 | 560 | 760 | 500 | 700 | 770 | 650 | 945 | 535 | 915 | M16 | 8 | 190 | 40 | 113 |
AW26 | 26.0 | 190 | 340 | 660 | 860 | 550 | 750 | 820 | 695 | 972 | 610 | 1040 | M16 | 8 | 205 | 40 | 122 |
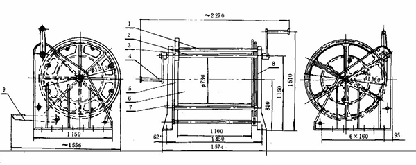
Drawings and Parameters of CBT 3468-92 Mooring Steel Wire Reel Type B:

Form 1-1:
Model | Max. Dia. of Wire Rope (mm) | Max. Wire Rope Length (m) | Unit:mm | ||||||||||||
D | D1 | D2 | L | L1 | L2 | L3 | B | B1 | H | H1 | H2 | H3 | |||
B39 | 39.0 | 210 | 510 | 936 | 1008 | 750 | 972 | 1032 | 1656 | 910 | 1085 | 584 | 1148 | 1303 | 1488 |
B48 | 47.5 | 230 | 620 | 1020 | 1032 | 1100 | 1326 | 1386 | 2010 | 1000 | 1220 | 584 | 1160 | 1315 | 1500 |
Form 1-2:
Model | Gear Modulus | Large Gear Tooth Number (pcs) | Small Gear Tooth Number (pcs) | Foot Bolt | Weight (kg) | ||
Thread Dia. | Quantity | B2 | |||||
B39 | 6 | 166 | 22 | M16 | 10 | 180 | 337 |
B48 | 8 | 127 | 17 | M16 | 12 | 200 | 394 |
Drawings and Parameters of CBT 3468-92 Mooring Steel Wire Reel Type C:

Model Type | Max. Diameter of Steel Wire (mm) | Gear Modulus | Large Gear Tooth Number (pcs) | Small Gear Tooth Number (pcs) | Foot Bolts | Weight (kg) | |
Thread Dia. | Quantity (pcs) | ||||||
C56 | 56 | 10 | 134 | 18 | M24 | 14 | 643.75 |
BACK TO TOP