| Standard: CB/T 3468-92/CB/T498-95/CB 875-78 |
| Suitable rope: wire rope/fiber rope/electric cable |
| Suitable rope/cable diameter: 13mm~56mm |
| Availible cert.: CCS, ABS, BV, DNV, LR and other certificates. |
Marine Mooring Reel

Introduction:
Marine mooring reel is used to store mooring ropes (mainly wire rope or fiber rope). Prohibited to be used for towing or stranded ropes. We can supply the following standards of marine mooring reel: CB/T 3468-92 marine mooring steel wire reel, CB/T498-95 fiber wire reel, and CB 875-78 mooring shore cable reel etc..
The surface of the marine mooring rope reel should be smooth and free of defects such as pits, burrs, sharp corners and cracks.
We can also provide many types of marine equipments. If you want more informations about our products, please contact us by sending an email or make us a phone call.
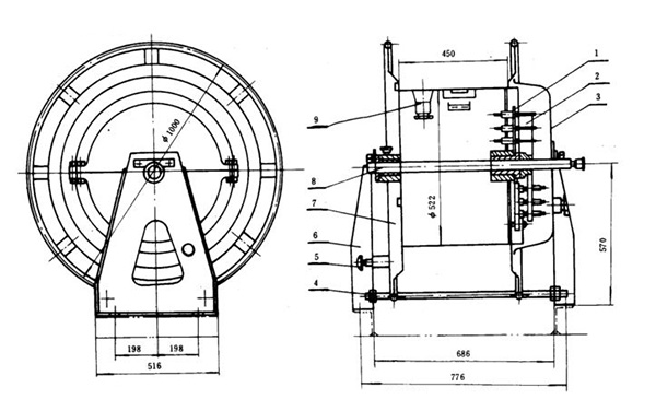
Drawings of CB 875-78 Mooring Shore Cable Reel Type A:

Drawings and Parameters of CB 875-78 Mooring Shore Cable Reel Type B:

Model | Cable Dia. (mm) | D (mm) | D1 (mm) | D2 (mm) | L (mm) | L1 (mm) | L2 (mm) | H (mm) | H1 (mm) | B (mm) | Weight (kg) |
B16 | 12.7~16 | 150 | 300 | 400 | 380 | 437 | 517 | 250 | 450 | 350 | 25 |
B22 | 20.3~22 | 150 | 320 | 550 | 490 | 559 | 639 | 329 | 604 | 450 | 30.5 |
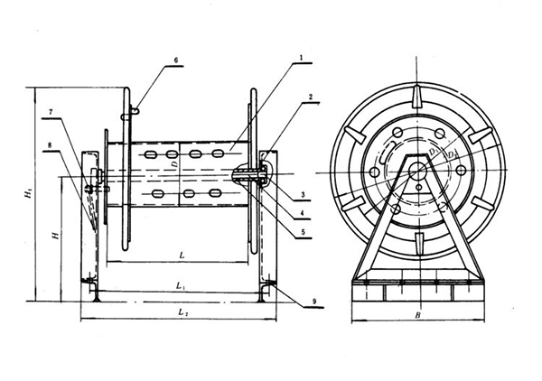
Drawings and Parameters of CB 875-78 Mooring Shore Cable Reel Type C:

Model | Cable Dia. (mm) | D (mm) | D1 (mm) | D2 (mm) | L (mm) | L1 (mm) | L2 (mm) | H (mm) | H1 (mm) | B (mm) | Weight (kg) |
C36 | 28~36 | 300 | 680 | 860 | 809 | 951 | 1017 | 555 | 985 | 700 | 130 |
C44 | 38~44 | 350 | 840 | 1020 | 924 | 1066 | 1132 | 625 | 1135 | 750 | 194 |
BACK TO TOP