| Standard: CB T3468-92 |
| Suitable rope: wire rope |
| Suitable rope diameter: 13mm~56mm |
| Availible cert.: CCS, ABS, BV, DNV, LR and other certificates. |
CB T3468-92 Mooring Steel Wire Reel

Introduction:
The marine mooring wire rope reel in the CB/T 3468-1992 standard is a device for storing wire ropes. The marine mooring wire rope reel in the standard has four types: Type A, Type AW, Type B, and Type C. Among the four types, the AW type is the only one without a hand crank.
The surface of the marine mooring fiber rope reel should be smooth and free of defects such as pits, burrs, sharp corners and cracks.
We can also provide many types of marine equipments. If you want more informations about our products, please contact us by sending an email or make us a phone call.
Classification and parameters of CB/T 3468-92 Mooring Steel Wire Reel:
Model | Type | Max. Wire Rope Dia. (mm) | Max. Wire Rope Length (m) | |
AW, A | AW13 | A13 | 13.0 | 120 |
AW17 | A17 | 17.0 | 190 | |
AW21 | A21 | 20.5 | 180 | |
AW26 | A26 | 26.0 | 190 | |
AW32 | A32 | 32.0 | 190 | |
B | B39 | 39.0 | 210 | |
B48 | 47.5 | 230 | ||
C | C56 | 56.0 | 300 | |
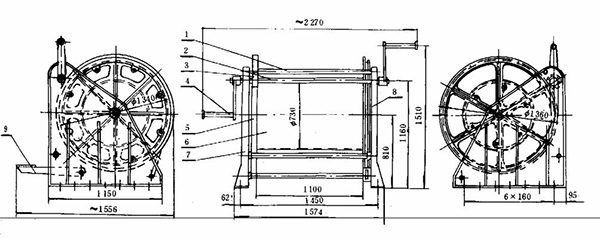
Drawings and Parameters of CB T3468-92 Mooring Steel Wire Reel Type A:

Model Type | Max. Dia. of Wire Rope | D | D1 | D2 | L | L1 | L2 | L3 | B | B1 | H | H1 | H2 | Foot Bolts | Weight (kg) | |||
Thread Diameter | Qty. | B | b | |||||||||||||||
A13 | 13.0 | 170 | 330 | 530 | 350 | 528 | 584 | 1161 | 560 | - | 420 | 685 | 670 | M16 | 6 | 240 | 10 | 69 |
A17 | 17 | 230 | 170 | 670 | 450 | 628 | 684 | 1281 | 620 | 925 | 495 | 830 | 745 | M16 | 8 | 180 | 10 | 86 |
A21 | 20.5 | 280 | 560 | 760 | 500 | 700 | 770 | 1340 | 650 | 945 | 535 | 915 | 875 | M16 | 8 | 190 | 40 | 118 |
A26 | 26 | 340 | 660 | 860 | 550 | 750 | 820 | 1425 | 695 | 972 | 610 | 1040 | 950 | M16 | 8 | 205 | 40 | 131 |
A32 | 32 | 425 | 800 | 1000 | 650 | 850 | 920 | 1510 | 740 | 1024 | 665 | 1165 | 1510 | M16 | 8 | 220 | 40 | 172 |
Drawings and Parameters of CB T3468-92 Mooring Steel Wire Reel Type AW:

Model | Max. Wire Rope Dia. (mm) | Max. Wire Rope Length (m) | Unit:mm | Foot Bolt | Weight (kg) | ||||||||||||
D | D1 | D2 | L | L1 | L2 | B | B1 | H | H1 | Thread Dia. | Qty. | B2 | b | ||||
AW13 | 13.0 | 120 | 170 | 330 | 530 | 350 | 528 | 584 | 560 | - | 420 | 685 | M16 | 6 | 240 | 40 | 58 |
AW17 | 17.0 | 190 | 230 | 470 | 670 | 450 | 628 | 684 | 620 | 925 | 495 | 830 | M16 | 8 | 180 | 40 | 76 |
AW21 | 20.5 | 180 | 280 | 560 | 760 | 500 | 700 | 770 | 650 | 945 | 535 | 915 | M16 | 8 | 190 | 40 | 113 |
AW26 | 26.0 | 190 | 340 | 660 | 860 | 550 | 750 | 820 | 695 | 972 | 610 | 1040 | M16 | 8 | 205 | 40 | 122 |
AW32 | 32.0 | 190 | 425 | 800 | 1000 | 650 | 850 | 920 | 740 | 1024 | 665 | 1165 | M16 | 8 | 220 | 40 | 162 |
Drawings and Parameters of CB T3468-92 Mooring Steel Wire Reel Type B:

Form 1-1:
Model | Max. Dia. of Wire Rope (mm) | Max. Wire Rope Length (m) | Unit:mm | ||||||||||||
D | D1 | D2 | L | L1 | L2 | L3 | B | B1 | H | H1 | H2 | H3 | |||
B39 | 39.0 | 210 | 510 | 936 | 1008 | 750 | 972 | 1032 | 1656 | 910 | 1085 | 584 | 1148 | 1303 | 1488 |
B48 | 47.5 | 230 | 620 | 1020 | 1032 | 1100 | 1326 | 1386 | 2010 | 1000 | 1220 | 584 | 1160 | 1315 | 1500 |
Form 1-2:
Model | Gear Modulus | Large Gear Tooth Number (pcs) | Small Gear Tooth Number (pcs) | Foot Bolt | Weight (kg) | ||
Thread Dia. | Quantity | B2 | |||||
B39 | 6 | 166 | 22 | M16 | 10 | 180 | 337 |
B48 | 8 | 127 | 17 | M16 | 12 | 200 | 394 |
Drawings and Parameters of CB T3468-92 Mooring Steel Wire Reel Type C:

Model Type | Max. Diameter of Steel Wire (mm) | Gear Modulus | Large Gear Tooth Number (pcs) | Small Gear Tooth Number (pcs) | Foot Bolts | Weight (kg) | |
Thread Dia. | Quantity (pcs) | ||||||
C56 | 56 | 10 | 134 | 18 | M24 | 14 | 643.75 |
BACK TO TOP