| Standard: CB T436-2000 |
| Type: single roller |
| Suitable fiber rope dia: 28mm~80mm |
| Availible cert.: CCS, ABS, BV, DNV, LR and other certificates. |
CB T436-2000 Single Roller Fairlead with cleat Type A

Introduction:
There are two types of CB T436-2000 single roller fairleads, type A and type B. If you want more information, please contact us.
Since the establishment of the company, we have established good business relationships with customers all over the world. We can customize products according to customers' drawings, and sometimes we will make professional suggestions according to customers' usage scenarios and conditions.
We can also provide many types of marine equipments. If you want more informations about our products, please contact us by sending an email or make us a phone call.
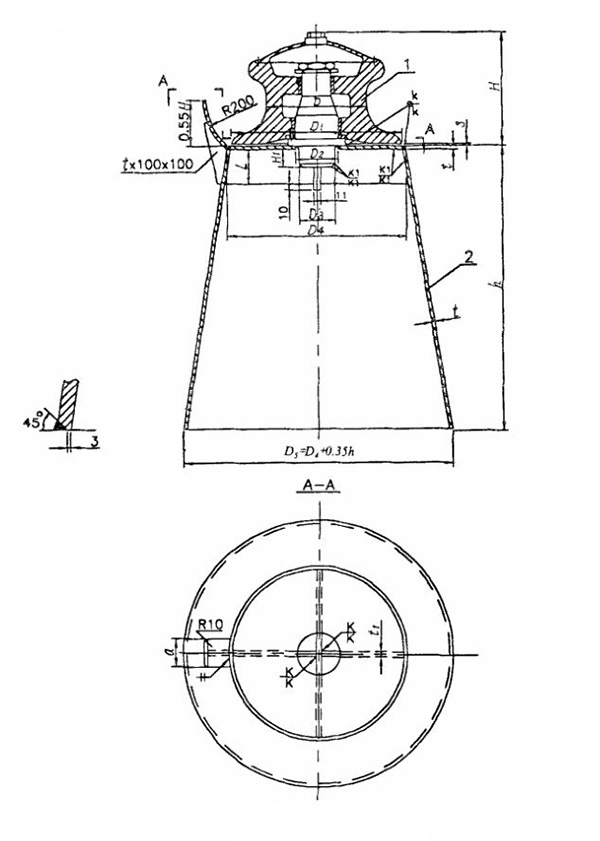
Drawings and Parameters of CB T436-2000 Single Roller Fairlead with cleat Type A:

Roller Dia. | Max. Dia. of Applicable Ropes (for reference) | Dimensions(mm) | Weight(kg) | ||||||||||||||||
Synthetic Fiber Rope | Hemp Rope | Steel Wire (GB/T 8918) Tensile Strength 1570MPa | a | D1 | D2 | D3 | D4 | H | H1 | K | K1 | L | S | t | t1 | Fairlead Roller | Pedestal | ||
6x24 | 6x37 | ||||||||||||||||||
100 | 28 | 40 | 11.0 | 11.0 | 60 | 160 | 48 | 40 | 176 | 128 | 35 | 5 | 5 | 60 | 3 | 8 | 6 | 9.9 | 63.9 |
150 | 32 | 45 | 16~18 | 14~16 | 240 | 71 | 60 | 264 | 211 | 40 | 9 | 7 | 75 | 3 | 12 | 8 | 33.8 | 129 | |
200 | 40 | 55 | 22.0 | 20.0 | 310 | 95 | 80 | 338 | 251 | 50 | 10 | 8 | 85 | 3 | 14 | 10 | 68 | 178 | |
250 | 45 | 65 | 24.0 | 24.0 | 80 | 380 | 107 | 90 | 408 | 298 | 60 | 100 | 4 | 14 | 10 | 114 | 207 | ||
300 | 50 | 70 | 30.0 | 28.0 | 440 | 127 | 110 | 472 | 321 | 13 | 10 | 100 | 4 | 16 | 14 | 168 | 265.4 | ||
350 | 55 | 75 | 38.0 | 34.0 | 500 | 144 | 125 | 536 | 346 | 65 | 100 | 4 | 18 | 14 | 248 | 332 | |||
400 | 65 | 85 | 40~42 | 38~40 | 100 | 560 | 161 | 140 | 600 | 371 | 70 | 14 | 12 | 120 | 5 | 20 | 16 | 355 | 401.3 |
450 | 80 | / | 44.0 | 42~44 | 620 | 180 | 155 | 660 | 394 | 90 | 120 | 5 | 20 | 16 | 452 | 445.4 | |||
Note: The pedetal weight means the weight when the base height is h=1000mm. | |||||||||||||||||||
BACK TO TOP