| Standard: JIS F2031-1998 |
| Type: Pawl type |
| Suitable chain size: 58mm~122mm |
| Availible cert.: CCS, ABS, BV, DNV, LR and other certificates. |
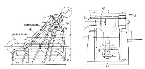
JIS F2031-1998 Pawl Type Chain Cable Stopper

Introduction:
There are five types of chain stopper in the standard JIS F2031-1998, which are small size bar type chain cable stopper, bar type chain cable stopper, pawl type chain cable stopper, roller pawl type chain cable stopper and roller bar type chain cable stopper.
Small size bar type chain cable stopper is suitable for anchor chains of 17mm~36mm, bar type chain cable stopper is suitable for anchor chains of 38mm~78mm, pawl type chain cable stopper is suitable for anchor chains of 58mm~122mm, both roller pawl type chain cable stopper and roller bar type chain cable stopper are suitable for the anchor chain of 70mm~132mm.
Drawings and Parameters of JIS F2031-1998 Pawl Type Chain Cable Stopper:

Form 1-1:
Nominal Size | Applicable Anchor Chain Dia. | B | b | b1 | b2 | b3 | L | l | l1 | l2 | h | h1 | h2 | h3 | r | |
A | B | |||||||||||||||
60 | 58~60 | 600 | 98 | 334 | 314 | 96 | 780 | 540 | 240 | 142 | 102 | 182 | 394 | 30 | 15 | 11 |
64 | 62~64 | 630 | 104 | 354 | 334 | 102 | 835 | 576 | 256 | 150 | 109 | 191 | 421 | 32 | 16 | 12 |
68 | 66~68 | 660 | 110 | 374 | 352 | 108 | 885 | 612 | 272 | 161 | 116 | 200 | 446 | 34 | 17 | 13 |
73 | 70~73 | 700 | 118 | 400 | 376 | 114 | 950 | 657 | 292 | 174 | 125 | 212 | 478 | 36 | - | 14 |
78 | 76~78 | 750 | 126 | 425 | 399 | 121 | 1015 | 702 | 312 | 186 | 133 | 222 | 511 | 39 | - | 15 |
84 | 81~84 | 800 | 136 | 454 | 426 | 130 | 1095 | 756 | 336 | 200 | 143 | 235 | 550 | 42 | - | 17 |
90 | 87~90 | 850 | 146 | 484 | 454 | 139 | 1170 | 810 | 360 | 216 | 153 | 248 | 588 | 45 | - | 18 |
95 | 92~95 | 900 | 154 | 508 | 476 | 146 | 1235 | 855 | 380 | 229 | 162 | 260 | 620 | 48 | - | 20 |
102 | 97~102 | 950 | 165 | 540 | 506 | 155 | 1350 | 918 | - | 248 | 175 | 276 | 665 | 51 | - | 21 |
107 | 105~107 | 1000 | 173 | 569 | 533 | 162 | 1400 | 972 | - | 264 | 185 | 289 | 703 | 54 | - | 23 |
114 | 111~114 | 1050 | 184 | 598 | 560 | 171 | 1480 | 1026 | - | 278 | 195 | 302 | 742 | 57 | - | 24 |
122 | 117~122 | 1120 | 197 | 632 | 592 | 182 | 1585 | 1098 | - | 297 | 207 | 318 | 790 | 61 | - | 26 |
Form 1-2:
Nominal Size | r1 | r2 | r3 | r4 | t | t1 | t2 | d1 | t3 | d | l3 | Solder foot f | Calculated Mass (kg) |
60 | 94 | 93 | 80 | 182 | 36 | 30 | 22 | 97 | 8 | 96 | 540 | 11 | 401 |
64 | 98 | 99 | 82 | 191 | 38 | 32 | 23 | 103 | 8 | 102 | 570 | 12 | 473 |
68 | 104 | 105 | 84 | 200 | 41 | 34 | 25 | 109 | 8 | 108 | 600 | 12 | 567 |
73 | 111 | 113 | 87 | 212 | 44 | 37 | 26 | 117 | 8 | 116 | 640 | 13 | 682 |
78 | 119 | 121 | 89 | 222 | 47 | 39 | 27 | 124 | 10 | 123 | 680 | 14 | 818 |
84 | 126 | 130 | 92 | 235 | 50 | 42 | 29 | 132 | 10 | 131 | 720 | 14 | 1030 |
90 | 133 | 140 | 95 | 248 | 54 | 45 | 31 | 140 | 10 | 139 | 770 | 16 | 1220 |
95 | 141 | 147 | 98 | 260 | 57 | 48 | 32 | 147 | 10 | 146 | 810 | 16 | 1420 |
102 | 149 | 158 | 101 | 276 | 61 | 51 | 34 | 157 | 10 | 156 | 860 | 17 | 1830 |
107 | 156 | 168 | 104 | 289 | 65 | 54 | 35 | 164 | 10 | 163 | 900 | 18 | 2130 |
114 | 163 | 176 | 107 | 302 | 68 | 57 | 37 | 173 | 10 | 172 | 940 | 19 | 2410 |
122 | 172 | 189 | 111 | 318 | 73 | 61 | 39 | 183 | 10 | 182 | 995 | 19 | 2900 |
BACK TO TOP