| Standard: JIS F2031-1998 |
| Type: Roller type |
| Suitable chain size: 70mm~132mm |
| Availible cert.: CCS, ABS, BV, DNV, LR and other certificates. |
JIS F2031-1998 Roller Bar Type Chain Cable Stopper

Introduction:
There are five types of chain stopper in the standard JIS F2031-1998, which are small size bar type chain cable stopper, bar type chain cable stopper, pawl type chain cable stopper, roller pawl type chain cable stopper and roller bar type chain cable stopper.
Small size bar type chain cable stopper is suitable for anchor chains of 17mm~36mm, bar type chain cable stopper is suitable for anchor chains of 38mm~78mm, pawl type chain cable stopper is suitable for anchor chains of 58mm~122mm, both roller pawl type chain cable stopper and roller bar type chain cable stopper are suitable for the anchor chain of 70mm~132mm.
Customers can choose the appropriate chain stopper according to the diameter of the anchor chain and actual needs. In addition to the chain stopper, our company can also provide you with mooring equipments, deck machinery, interior and exterior decoration of ships, marine valves and pipe fittings and other products. If you are interested in our products, please contact us.
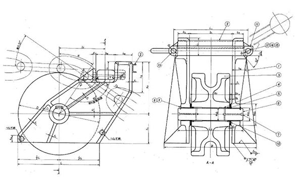
Drawings and Parameters of JIS F2031-1998 Roller Bar Type Chain Cable Stopper:

Form 1-1:
Nominal Size | Applicable Anchor Chain Dia. (mm) | L | L1 | l1 | l2 | l3 | l4 | B | b1 | b2 | b3 | b4 |
73 | 70~73 | 730 | 700 | 130 | 414 | 45 | 100 | 850 | 400 | 100 | 376 | 180 |
78 | 76~78 | 780 | 730 | 140 | 442 | 48 | 105 | 900 | 425 | 110 | 399 | 190 |
84 | 81~84 | 840 | 780 | 160 | 475 | 50 | 110 | 970 | 454 | 120 | 426 | 200 |
90 | 87~90 | 900 | 840 | 180 | 507 | 55 | 125 | 1030 | 484 | 130 | 454 | 210 |
95 | 92~95 | 950 | 880 | 200 | 535 | 58 | 130 | 1080 | 508 | 140 | 476 | 220 |
102 | 97~102 | 1020 | 940 | 220 | 572 | 60 | 135 | 1150 | 540 | 150 | 506 | 230 |
107 | 105~107 | 1070 | 990 | 240 | 600 | 63 | 140 | 1210 | 569 | 160 | 533 | 240 |
114 | 111~114 | 1140 | 1040 | 250 | 637 | 68 | 150 | 1270 | 598 | 170 | 560 | 250 |
122 | 117~122 | 1220 | 1100 | 270 | 679 | 70 | 155 | 1340 | 632 | 180 | 592 | 260 |
132 | 127~132 | 1320 | 1170 | 280 | 730 | 75 | 165 | 1440 | 674 | 190 | 632 | 270 |
Form 1-2:
Nominal Size | b5 | b6 | b7 | b8 | d1 | d3 | d4 | r1 | r2 | r3 | r4 | r5 | h1 |
73 | 12 | 135 | 99 | 160 | 45 | 110 | 194 | 150 | 60 | 160 | 38 | 32 | 255 |
78 | 13 | 140 | 105 | 170 | 48 | 117 | 208 | 165 | 70 | 180 | 40 | 35 | 270 |
84 | 14 | 150 | 112 | 180 | 50 | 125 | 222 | 175 | 80 | 200 | 42 | 38 | 290 |
90 | 15 | 160 | 119 | 190 | 55 | 133 | 236 | 190 | 90 | 215 | 45 | 40 | 320 |
95 | 16 | 170 | 126 | 200 | 58 | 140 | 248 | 200 | 95 | 230 | 48 | 42 | 335 |
102 | 17 | 180 | 134 | 215 | 60 | 149 | 264 | 210 | 100 | 250 | 50 | 45 | 355 |
107 | 18 | 190 | 139 | 225 | 63 | 155 | 274 | 225 | 105 | 270 | 53 | 47 | 380 |
114 | 19 | 200 | 147 | 235 | 68 | 164 | 290 | 250 | 110 | 290 | 55 | 50 | 400 |
122 | 20 | 210 | 156 | 250 | 70 | 174 | 308 | 270 | 115 | 310 | 58 | 52 | 430 |
132 | 21 | 225 | 167 | 270 | 75 | 186 | 328 | 300 | 125 | 330 | 62 | 55 | 455 |
Form 1-3:
Nominal Size | h2 | h3 | h4 | t1 | D | d2 | L2 | t2 | f1 | f2 | Calculated Mass (kg) |
73 | 460 | 240 | 70 | 26 | 730 | 109 | 635 | 8 | 22 | 14 | 1000 |
78 | 490 | 260 | 75 | 27 | 780 | 116 | 670 | 8 | 22 | 14 | 1180 |
84 | 530 | 280 | 75 | 29 | 840 | 124 | 710 | 8 | 25 | 16 | 1470 |
90 | 570 | 320 | 80 | 31 | 900 | 132 | 750 | 10 | 25 | 16 | 1780 |
95 | 610 | 345 | 80 | 33 | 950 | 139 | 790 | 10 | 25 | 16 | 2110 |
102 | 650 | 375 | 85 | 35 | 1020 | 148 | 835 | 10 | 28 | 18 | 2380 |
107 | 690 | 395 | 90 | 37 | 1070 | 154 | 870 | 15 | 28 | 18 | 2900 |
114 | 740 | 425 | 95 | 38 | 1140 | 163 | 915 | 15 | 30 | 20 | 3440 |
122 | 790 | 465 | 100 | 40 | 1220 | 173 | 965 | 15 | 30 | 20 | 4100 |
132 | 860 | 490 | 105 | 43 | 1320 | 185 | 1030 | 15 | 30 | 20 | 5080 |
BACK TO TOP