| Standard: CB 887-2007 |
| Type: Swivel type |
| Suitable chain size: 28mm~34mm |
| Availible cert.: CCS, ABS, BV, DNV, LR and other certificates. |
CB 887-2007 Swivel Chain Releaser

Introduction:
There are two types of anchor releaser in the CB 887-77 standard, non-watertight type can only be used in confined spaces or dry environment, and watertight swivel type anchor releaser has good waterproof performance. The two types of anchor releaser is suitable for anchor chains from 28mm to 34mm, and the material is carbon steel, lead brass, and iron brass. We can issue CCS, ABS, BV, DNV and other certificates for the products.
We can also provide many types of marine equipments. If you want more informations about our products, please contact us by sending an email or make us a phone call.
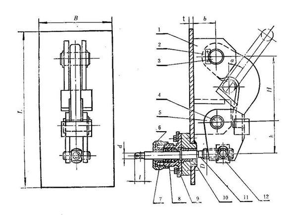
Drawings and Parameters of CB 887-2007 Watertight Swivel Type Anchor Releaser:

Anchor Chain Dia. (mm) | H | h | b | L | B | t | D | d | l | Weight (kg) |
28 | 170 | 65 | 60 | (500) | (200) | 10 | Tr24×5-7 | 18 | 45 | 23 |
32 | 180 | 70 | 70 | (510) | (210) | 10 | Tr26×5-7 | 18 | 45 | 28 |
34 | 180 | 70 | 70 | (510) | (210) | 10 | Tr26×5-7 | 18 | 45 | 28 |
Note: Dimensions in brackets are reference dimensions | ||||||||||
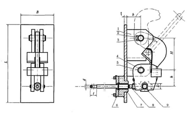
Drawings and Parameters of CB 887-2007 Non-watertight Swivel Type Anchor Releaser:

Anchor Chain Dia. (mm) | H | h | b | L | B | t | D | d | l | Weight (kg) |
28 | 170 | 65 | 60 | (500) | (200) | 10 | Tr24×5-7 | 18 | 45 | 21 |
32 | 180 | 70 | 70 | (510) | (210) | 10 | Tr26×5-7 | 18 | 45 | 26 |
34 | 180 | 70 | 70 | (510) | (210) | 10 | Tr26×5-7 | 18 | 45 | 27 |
Note: Dimensions in brackets are reference dimensions | ||||||||||
BACK TO TOP